CLE A CLIQUET 1/2''
Code UT8018A
Couple élevé
CLE A CLIQUET 1/2''
ROBUSTE ET PUISSANTE
Réf. UT8018A
Identifiants incorrects
Connectez-vous pour connaître votre prix
Vous n'avez pas de compte ?
Créez un compte distributeur
Accessoires conseillés
Sélectionnez un ou plusieurs accessoires pour les ajouter à votre panier
Tableau technique
Consommation :
150 L/min
Niveau sonore dB :
94
Pression de service :
6,40 bar
Raccord :
1/4'' bspt
Utilisation :
Intensive
Couple Maxi :
136 Nm réel
Niveau de vibration :
8.8 m/sec²
Taille du carré :
1/2''
Vitesse à vide :
150 tr/min
En coffret :
Non
Poids :
2,01 Kg
Longueur :
353 mm
Hauteur :
50 mm
Documents relatifs au produit
Avantages produits
Couple élevé
Description technique
Clé d'une puissance exceptionnelle, elle est parfaitement adaptée aux ateliers PL, à l'agriculture et à la maintenance industrielle. Son carré 1/2 permet de l'utiliser avec les douilles les plus courantes dans les ateliers.
Les douilles chocs ne sont pas nécessaires
Cette clé à cliquet peut être utilisée avec des douilles chocs, sans que cela ne soit obligatoire.
Attention : comme toutes les clés à cliquet, elle n'est pas adaptée au blocage-déblocages des pièces.
Pour des performances optimales et une durabilité de la machine, il faut impérativement utiliser un air épuré, lubrifié et régulé à 6,4 bar.
Les douilles chocs ne sont pas nécessaires
Cette clé à cliquet peut être utilisée avec des douilles chocs, sans que cela ne soit obligatoire.
Attention : comme toutes les clés à cliquet, elle n'est pas adaptée au blocage-déblocages des pièces.
Pour des performances optimales et une durabilité de la machine, il faut impérativement utiliser un air épuré, lubrifié et régulé à 6,4 bar.
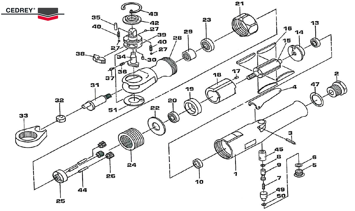
Vues éclatées
Repère
Code
Stock
Libellé
01
En rupture
CARTER MOTEUR UT8018A
02
En rupture
RACCORD D'ADMISSION UT8018A
03
En stock
GOUPILLE UT8018A
04
En rupture
LEVIER GACHETTE UT8018A
06
En stock
JOINT TORIQUE UT8018A
07
En stock
RESSORT DE SOUPAPE UT8018A
08
En stock
JOINT TORIQUE UT8018A
09
En stock
TIGE DE SOUPAPE UT8018A
10
En stock
CACHE DU ROULEMENT UT8018A
13
En stock
ROULEMENT UT8018A/UT8757B
14
En rupture
FLASQUE AR UT8018A
15
En rupture
ROTOR UT8018A
16
En stock
PALETTE UT8018A
17
En stock
GOUPILLE UT8018A
18
En stock
CYLINDRE UT8018A
19
En stock
FLASQUE AV UT8018A
20
En stock
ROULEMENT UT8018A
21
En stock
ECROU UT8018A
22
En rupture
ENTRETOISE UT8018A
23
En stock
ROULEMENT UT8018A (24531)
24
En rupture
COURONNE SATELITTES UT8018A
25
En rupture
PORTE SATELLITE UT8018
26
En rupture
SATELLITE UT8018
27
En stock
BILLE UT8018A
28
En stock
CARTER ROCHET UT8018A
29
En rupture
ROULEMENT A AIGUILLES UT8018A
30
En stock
GOUPILLE UT8018T/UT8781K
31
En rupture
ARBRE UT8018A
32
En stock
NOIX D'ENTRAINEMENT UT8018T
33
En stock
CADRE D'ENTRAINEMENT UT8018A
34
En rupture
INVERSEUR UT8018A
35
En stock
AXE UT8018A
36
En stock
RESSORT UT8018T
37
En rupture
TIGE DE BLOCAGE UT8018T
38
En stock
CLIQUET UT8018A
39
En rupture
CARRE 1/2'' UT8018A
40
En rupture
RESSORT UT8018A
42
En rupture
RONDELLE UT8018A
43
En stock
CIRCLIPS UT8018A
44
En stock
AXE DE SATELLITE UT8018A
47
Ce produit n'est plus disponible
JOINT TORIQUE UT200C/UT8018A
49
En rupture
REGULATEUR UT8018A
50
En stock
JOINT TORIQUE UT8018A
51
En stock
RONDELLE UT8018T
01
En rupture
HD12001
CARTER MOTEUR UT8018A
02
En rupture
HD12002
RACCORD D'ADMISSION UT8018A
03
En stock
SP25220
GOUPILLE UT8018A
04
En rupture
AR38005
LEVIER GACHETTE UT8018A
06
En stock
ORP-0110
JOINT TORIQUE UT8018A
07
En stock
VP-70037
RESSORT DE SOUPAPE UT8018A
08
En stock
ORP-0060
JOINT TORIQUE UT8018A
09
En stock
VP70035
TIGE DE SOUPAPE UT8018A
10
En stock
VP70011
CACHE DU ROULEMENT UT8018A
13
En stock
BB06082
ROULEMENT UT8018A/UT8757B
14
En rupture
HD12014
FLASQUE AR UT8018A
15
En rupture
HD12015
ROTOR UT8018A
16
En stock
HD12016
PALETTE UT8018A
17
En stock
SP30060
GOUPILLE UT8018A
18
En stock
HD12018
CYLINDRE UT8018A
19
En stock
HD12019
FLASQUE AV UT8018A
20
En stock
BB60002
ROULEMENT UT8018A
21
En stock
HD12021
ECROU UT8018A
22
En rupture
HD12022
ENTRETOISE UT8018A
23
En stock
BB6200
ROULEMENT UT8018A (24531)
24
En rupture
HD12024
COURONNE SATELITTES UT8018A
25
En rupture
HD12025
PORTE SATELLITE UT8018
26
En rupture
HD12026
SATELLITE UT8018
27
En stock
SB006
BILLE UT8018A
28
En stock
HD12028
CARTER ROCHET UT8018A
29
En rupture
HD12029
ROULEMENT A AIGUILLES UT8018A
30
En stock
SP25060
GOUPILLE UT8018T/UT8781K
31
En rupture
HD12031
ARBRE UT8018A
32
En stock
HD12032
NOIX D'ENTRAINEMENT UT8018T
33
En stock
HD12033
CADRE D'ENTRAINEMENT UT8018A
34
En rupture
HD12034
INVERSEUR UT8018A
35
En stock
NR60160
AXE UT8018A
36
En stock
HD12036
RESSORT UT8018T
37
En rupture
HD12037
TIGE DE BLOCAGE UT8018T
38
En stock
HD12038
CLIQUET UT8018A
39
En rupture
HD12039
CARRE 1/2'' UT8018A
40
En rupture
HD12040
RESSORT UT8018A
42
En rupture
HD12042
RONDELLE UT8018A
43
En stock
RTW036
CIRCLIPS UT8018A
44
En stock
NR50223
AXE DE SATELLITE UT8018A
47
Ce produit n'est plus disponible
ORP0180
JOINT TORIQUE UT200C/UT8018A
49
En rupture
AP70034
REGULATEUR UT8018A
50
En stock
ORP-0080
JOINT TORIQUE UT8018A
51
En stock
HD12051
RONDELLE UT8018T