CISAILLE REVOLVER
Code UT8605NM
Sa poignée revolver permet une très bonne prise en main et un guidage précis. Poignée confort, gâchette progressive . Outil très bien équilibré.
CISAILLE REVOLVER
INDUSTRIE
Réf. UT8605NM
Identifiants incorrects
Connectez-vous pour connaître votre prix
Vous n'avez pas de compte ?
Créez un compte distributeur
Accessoires conseillés
Sélectionnez un ou plusieurs accessoires pour les ajouter à votre panier
Tableau technique
Consommation :
110 L/min
Niveau sonore dB :
85
Pression de service :
6,40 bar
Raccord :
1/4'' bspt
Utilisation :
Intensive
Capacité :
Acier : 1,6 mm - Alu : 2 mm
Cadence :
2600 Cycle/
Norme ATEX :
Non
En coffret :
Non
Poids :
1,60 Kg
Longueur :
230 mm
Hauteur :
140 mm
Documents relatifs au produit
Avantages produits
Sa poignée revolver permet une très bonne prise en main et un guidage précis. Poignée confort, gâchette progressive . Outil très bien équilibré.
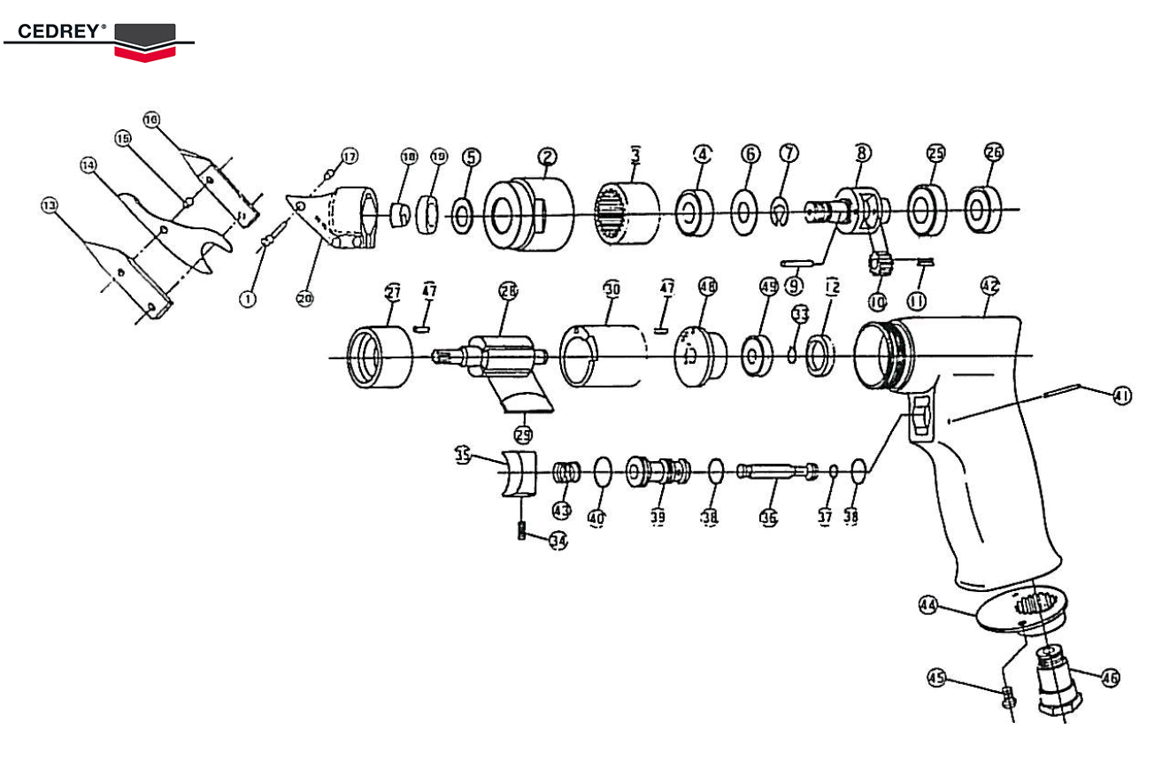
Vues éclatées
Repère
Code
Stock
Libellé
02
En rupture
CARTER AV UT8830
03
En rupture
COURONNE UT8830A
04
En rupture
ROULEMENT POUR UT80030
05
En stock
ENTRETOISE UT8880RD/8825/8830/ 8832/8844/50I/8741A
06
En rupture
RONDELLE FIBRE POUR UT8830
07
En rupture
BAGUE DE RETENUE UT8830
08
En rupture
BROCHE UT8605/UT8830
09
En rupture
AXE SATELLITE UT8830
10
En rupture
SATELLITE UT8830
11
En rupture
AIGUILLE UT8830 (jeu de 11)
12
En rupture
BAGUE DE ROULEMENT UT8001/11A/ 8824/8830/8850I
18
En rupture
ECCENTRIQUE UT8605
19
En stock
ROULEMENT UT8605
25
En stock
ROULEMENT UT8830/8850/UT8704 ( 0B31)
26
En stock
ROULEMENT UT8001/11A/8830/8850 /UT059
27
En rupture
FLASQUE AV UT8830/8850
28
En rupture
ROTOR UT8830
29
En stock
PALETTE UT8720+I/5741A/8850-I/ HP045D 8830/8011/1054/8741A
30
En stock
CHEMISE UT8720I/1054/8741A/885 0I
33
En rupture
CLIPS POUR UT8788/8830/8850/89 35A/8968/8969
34
En stock
VIS UT8850-I/8830/8880RD/8935A /8968/8969
35
En stock
GACHETTE UT8825/8830/8850-I/88 80RD/8935A/8968/8969
36
En stock
SOUPAPE D'ADMISSION UT8830/50- I
37
En stock
JOINT TORIQUE UT8715/8830/8850 -I/8935A/8968/69
38
En stock
JOINT TORIQUE UT8055/8830/8850 -I/8715/90/8764/8920B/8754I
39
En rupture
DOUILE D'ADMISSION UT8830/8850 -I
40
En rupture
JOINT TORIQUE UT8754I/8830/885 0
41
En rupture
GOUPILLE UT8000SRB/8807B/30/50 -I/8778/8955
43
En stock
RESSORT GACHETTE UT8880RD/8830 /8850-I/8935A/68/69
44
En rupture
DEFLECTEUR UT8880RD/8830/8850- I/8935A/8968/69
45
En rupture
VIS UT8830/UT8850-I/UT8880RD/8 935A/8968/69
46
En rupture
RACCORD D'ADMISSION UT8850/UT8 968/8880RD
47
En stock
GOUPILLE UT8850-I/8715/20/1054 103111
48
En rupture
FLASQUE AR UT8830/UT8850
49
En stock
ROULEMENT UT8001/11A/8020R/874 0F/64/65/78/8850-I/24/32/ 2500
02
En rupture
C-729799
CARTER AV UT8830
03
En rupture
C-729798
COURONNE UT8830A
04
En rupture
1008854
ROULEMENT POUR UT80030
05
En stock
C-730229
ENTRETOISE UT8880RD/8825/8830/ 8832/8844/50I/8741A
06
En rupture
C-729797
RONDELLE FIBRE POUR UT8830
07
En rupture
C-729208
BAGUE DE RETENUE UT8830
08
En rupture
C-729794
BROCHE UT8605/UT8830
09
En rupture
C-729796
AXE SATELLITE UT8830
10
En rupture
C-729795
SATELLITE UT8830
11
En rupture
C-729808
AIGUILLE UT8830 (jeu de 11)
12
En rupture
C-729178
BAGUE DE ROULEMENT UT8001/11A/ 8824/8830/8850I
18
En rupture
C-860541
ECCENTRIQUE UT8605
19
En stock
C-860542
ROULEMENT UT8605
25
En stock
1008212
ROULEMENT UT8830/8850/UT8704 ( 0B31)
26
En stock
1001532
ROULEMENT UT8001/11A/8830/8850 /UT059
27
En rupture
C-729793
FLASQUE AV UT8830/8850
28
En rupture
C-729792
ROTOR UT8830
29
En stock
C-729709
PALETTE UT8720+I/5741A/8850-I/ HP045D 8830/8011/1054/8741A
30
En stock
C-729708
CHEMISE UT8720I/1054/8741A/885 0I
33
En rupture
1012831
CLIPS POUR UT8788/8830/8850/89 35A/8968/8969
34
En stock
C-731928
VIS UT8850-I/8830/8880RD/8935A /8968/8969
35
En stock
C-731929
GACHETTE UT8825/8830/8850-I/88 80RD/8935A/8968/8969
36
En stock
C-731926
SOUPAPE D'ADMISSION UT8830/50- I
37
En stock
C-729591
JOINT TORIQUE UT8715/8830/8850 -I/8935A/8968/69
38
En stock
C-729091
JOINT TORIQUE UT8055/8830/8850 -I/8715/90/8764/8920B/8754I
39
En rupture
C-731927
DOUILE D'ADMISSION UT8830/8850 -I
40
En rupture
C-729263
JOINT TORIQUE UT8754I/8830/885 0
41
En rupture
C-731930
GOUPILLE UT8000SRB/8807B/30/50 -I/8778/8955
43
En stock
C-731925
RESSORT GACHETTE UT8880RD/8830 /8850-I/8935A/68/69
44
En rupture
C-731922
DEFLECTEUR UT8880RD/8830/8850- I/8935A/8968/69
45
En rupture
C-731921
VIS UT8830/UT8850-I/UT8880RD/8 935A/8968/69
46
En rupture
C-731920
RACCORD D'ADMISSION UT8850/UT8 968/8880RD
47
En stock
C-729707
GOUPILLE UT8850-I/8715/20/1054 103111
48
En rupture
C-729791
FLASQUE AR UT8830/UT8850
49
En stock
C-729012
ROULEMENT UT8001/11A/8020R/874 0F/64/65/78/8850-I/24/32/ 2500